gå till huvudtexten

Skrivbara skivor

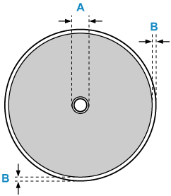
Utskriftsområdet på skrivbara skivor är 17 mm (0,67 tum) från den inre diametern till 1 mm (0,04 tum) från den yttre diametern av utskriftsytan.

Utskrivbart område

  • A: 17,0 mm (0,67 tum)
  • B: 1,0 mm (0,04 tum)